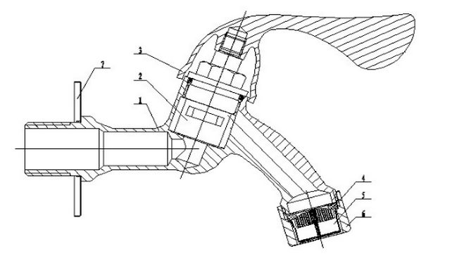
材质成分
主体:优质红锻铜,抛光镀铬
阀芯:采用进口陶瓷片
手柄:锌合金,抛光镀铬
垫片:三元乙丙
起泡器:组合件
起泡器外套:优质红锻铜,抛光镀铬
装饰盖:304不锈钢镜面


S006W凤凰起泡器水嘴描述:
主体采用优质黄铜经红冲锻造、精密数控加工制造而成。璞玉浑金,坚固耐用,制作精细。严格按照国家标准GB/T 18145-2003检测。
优质陶瓷阀芯,质量高,密封性能好,能经受50万次以上的开关循环使用仍可操作顺畅省力,耐久不漏水,手感舒适。
表面采用先进的电镀工艺处理,经过酸铜、镍、铬多重镀层。电镀层结合良好、附着细密、色泽均匀,耐腐性极佳,确保小黄鸭污视频表面光泽亮丽,历久恒新。有多层滤网,使出水顺畅,节水不飞溅,并伴有气泡,让消费者充分体会到用水乐趣。
S006W凤凰起泡器水嘴优势:
1、制作精细,坚固耐用。小黄鸭污视频主体采用优质黄铜红冲锻造,经精密数控加工制造而成。分子组织均匀,坚固耐用,排除了传统水嘴翻砂工艺可能产生气孔导致漏水的隐患
2、安装方便,使用安全。进水口螺纹采用插直齿工艺,方便生料带缠绕,不打滑,完全紧贴螺纹。安装方便,强度高,耐高压。万一损坏,不断裂在墙体,可轻松更换。
3、加厚电镀,历久恒新。表面精密抛光并经镍及铬多层加厚电镀,具有耐腐蚀性,光亮不褪色、不磨损。确保小黄鸭污视频表面光泽亮丽,历久恒新。
4、进口阀芯,品质保证。优质进口陶瓷片阀芯能经受50万次循环使用,手感舒适,耐久不漏水。相当于4口之家使用85年,仍可保持同样手感。
5、创新设计,简约大方。造型新颖别致,设计者运用创造性的思维和丰富的想象力突破传统水嘴样式的局限性。人性化的设计,简约大方的外观以及时尚的轮廓,无不体现着含蓄的优雅。
五年品质保证,让消费者放心使用本小黄鸭污视频。



